Измерение магнитострикции ферромагнетика с помощью тензодатчикаЦель работы: определение продольной магнитострикции никеля в зависимости от амплитуды напряженности магнитного поля. Теория. § 1 Введение Данная работа посвящена изучению поведения ферромагнетиков в магнитном поле. Хотя магнитное взаимодействие является малой поправкой к электрическим обменным силам, обусловливающим самопроизвольную намагниченность, тем не менее, они играют решающую роль во всем сложном комплексе явлений технического намагничивания. Поэтому выяснение физической природы магнитного взаимодействия в ферромагнетиках имеет не только теоретическое значение, но необходимо и для ясного понимания механизма тех физических процессов, которые обусловливают всю практическую ценность явления ферромагнетизма. Напомним, что ферромагнетиками называются вещества, в которых магнитные моменты ориентированы вдоль выделенного направления. Монокристаллы ферромагнетиков анизотропны в магнитном отношении. В качестве примера магнитокристаллической анизотропии на рис. 1 приведены кривые намагничивания I (Н) монокристалла кобальта, снятые вдоль гексагональной оси (ось с) и перпендикулярно к ней (ось а) . Как видно из рисунка, если магнитное поле H || c , то достаточно приложить поле в несколько сот эрстед для того, чтобы намагнитить кристалл до насыщения. При Н ^ с насыщение достигается только при Н ” 10 4 Э. Наиболее резко магнитная анизотропия, проявляется в кристаллах гексагональной симметрии (Со, Tb, Dy) . Из анализа кривых I(Н) , снятых по различным кристаллографическим направлениям, следует, что в ферромагнитных монокристаллах существуют направления, называемые “осями легкого намагничивания” (ОЛН) , и направления, называемые “осями трудного намагничивания” (ОТН) . Известно, что минимум свободной энергии магнитокристаллической анизотропии достигается, когда намагниченность ориентирована вдоль ОЛН. Для поворота I s из этих направлений требуется затрата определенной работы, которая приводит к росту энергии магнитной или магнитокристаллической анизотропии. Энергией магнитокристаллической анизотропии называют ту часть энергии кристалла, которая зависит от ориентации вектора намагниченности относительно кристаллографических осей.
Рис. 1. Кривые намагничивания I (Н) монокристалла кобальта, снятые вдоль гексагональной оси (ось с) и перпендикулярно к ней (ось а) . В случае кобальта эта энергия минимальна, если намагниченность направлена вдоль оси с (при комнатной температуре) . При вращении намагниченности I s от оси с энергия анизотропии увеличивается с увеличением угла J между осью c и направлением I s , достигает максимума при J =90°, т.е. при I s ^ с , и затем уменьшается до первоначального значения при J =180°. § 2. Спонтанная магнитострикция и ее вклад в магнитную анизотропию При возможных изменениях ориентации самопроизвольной намагниченности в кристалле изменяются равновесные расстояния между узлами решетки. Поэтому возникают самопроизвольные магнитострикционные деформации. т.е. Опр. При перемагничивании ферромагнетика имеет место магнитное взаимодействие элекектронов, которое влияет на межатомное расстояние, вызывая деформацию кристаллической решетки, что сопровождается изменением линейных размеров тела и появлением соответствующей магнитоупругой энергии. Это явление называется магнитострикцией. В частном случае кубического кристалла в отсутствие внешних напряжений свободная энергия магнитного и упругого взаимодействия (с точностью до шестых степеней в направляющих косинусах вектора Is и вторых степеней тензора магнитострикционных напряжений) , равна сумме энергии магнитокристаллической анизотропии f a , упругой энергии f упр и магнитоупругой энергии f му : f a (a i , e i j ) = f a (a i , e i j ) + f упр. (a i , e i j ) + f му. (a i , e i j ) (1) 1) Можно феноменологическим путем получить выражение плотности f a энергии магнитной анизотропии, раскладывая эту энергию в ряд по степеням направляющих косинусов вектора намагниченности a i относительно осей симметрии кристалла. Сначала найдем выражение f a для кобальта, имеющего гексагональную решетку с ОЛН - с, для которого a i =a = cos ( I s , с) = cos J. Для гексагональной решетки, обладающей центром симметрии, операция замены a на - a должна оставлять энергию инвариантной относительно такого преобразования симметрии. Следовательно, в разложении останутся только члены с четными степенями а, т.е. f a =K 1ў a 2 + K 2ў a 4 + ...... (2) где K 1ў a 2 и K 2ў a 4 и т.д. - параметры магнитной анизотропии; f a чаще записывают в следующем виде: f a = K 1 sin 2J + K 2 sin 4J +..., (3) где K 1 и K 2 называют 1-й и 2-й константами магнитной анизотропии. Энергия анизотропии кристаллов гексагональной системы в общем случае должна зависеть от азимута j. Но эта зависимость является очень слабой, и ею обычно пренебрегают. Для кубических кристаллов, таких как Fe, Ni, энергия анизотропии выражается в функции направляющих косинусов (a 1 , a 2 , a 3 ) намагниченности I s относительно трех ребер куба: (a 1 =cos( I s , [100]) ; a 2 =cos( I s , [010]) ; a 3 =соs( I s , [001]) . (4) Энергия анизотропии должна быть такой функцией a 1 , a 2 , a 3 , которая оставалась бы инвариантной при преобразованиях симметрии кубического кристалла. В кубическом кристалле плоскости типа [100] являются плоскостями симметрии. Зеркальное отражение вектора I s в такой плоскости должно оставлять функцию f a (a 1 , a 2 , a 3 ) инвариантной. Отражение, например, в плоскости (100) заменяет a 1 на - a 1 , оставляя a 2 и a 3 неизменными. Аналогично зеркальное отражение в плоскостях (010) и (001) изменяет знаки соответственно у a 2 и a 3 . Следовательно, функция f a (a 1 , a 2 , a 3 ) должна быть инвариантной относительно преобразований a i ® - a i ( i = 1,2,3) (5) Кубический кристалл имеет также плоскости симметрии типа {110}. Отражение в этих плоскостях соответствует преобразованиям a i ® - a j ( i№ j = 1,2,3) (6) Первым членом разложения энергии анизотропии кубического кристалла по степеням a 1 , a 2 , a 3 , удовлетворяющим требованиям симметрии (5,6) , является a 2 1 + a 2 2 + a 2 3 , но этот член разложения всегда равен единице и, следовательно, не описывает эффекта анизотропии. Следующий член (четвертого порядка относительно a i ) , a 4 1 + a 4 2 + a 4 3 может быть приведен к виду a 4 1 + a 4 2 + a 4 3 = 1- 2(a 2 1a 2 2 +a 2 2a 2 3 +a 2 1a 2 3 ) (7) так как (a 2 1 + a 2 2 + a 2 3 ) 2 = 1 . Далее, член шестого порядка приводится к виду a 6 1 + a 6 2 + a 6 3 = 1- 3(a 2 1a 2 2 +a 2 2a 2 3 +a 2 1a 2 3 ) +3a 2 1a 2 2a 2 3 (8) так как (a 2 1 + a 2 2 + a 2 3 ) 3 = 1. Энергия анизотропии на единицу объема кубического кристалла с точностью до членов шестого порядка относительно a i представляется в виде линейной комбинации f a =K 1 (a 2 1a 2 2 +a 2 2a 2 3 +a 2 1a 2 3 ) + K 2a 2 1a 2 2a 2 3 (9) Часто членом K 2a 2 1a 2 2a 2 3 , который обычно меньше первого члена в (9) , пренебрегают. Тогда: f a =K 1 (a 2 1a 2 2 +a 2 2a 2 3 +a 2 1a 2 3 ) (10) Знаки констант анизотропии K 1 и K 2 и их относительная величина определяют то кристаллографическое направление, которое в данном кристалле будет “легким” . Если К 1 >0, то первый член в (9) минимален при направлении намагниченности вдоль осей [100], [010], [001], которые в этом случае являются осями легкого намагничивания. Если К 1 <0, то осями легкого намагничивания являются оси[111], [I11], [1I1], [11I], так как первый член в энергии анизотропии (9) минимален, когда намагниченность расположена вдоль этих осей. Если учитывать и второй член в (9) , то направление диагональной оси [100] в тех случаях, когда К 1 отрицательна и меньше по абсолютной величине, чем К 2 , также может быть направлением легкого намагничивания. В заключение отметим, что в ряде случаев удобнее f a раскладывать в ряд по сферическим функциям Y m l (J, j) где J - полярный угол, j - азимут вектора намагниченности по отношению к выбранной оси симметрии. Тогда f a =S S c m lU m l (J, j) , (11) где c m l - параметры, аналогичные константам анизотропии. Разложение (11) справедливо для кристаллов любой симметрии (тип симметрии определяют величины c m l , т.е. какие из этих коэффициентов обращаются в нуль) . 2) f упр. (e i j ) = Ѕ [ C 11 (e 2 xx + e 2 yy + e 2 zz ) ] +Ѕ [ C 44 (e 2 xy + e 2 yz + e 2 xz ) ] + + C 12 (e xx e yy + e yy e zz + e xx e zz ) (12) 3) f му. (a i , e i j ) = B 1 [ (a 2 1 – 1/3) e xx +(a 2 2 – 1/3) e yy +(a 2 3 – 1/3) e zz ] + B 2 [a 1a 2 e xy +a 2a 3 e yz +a 1a 3 e xz ] , (13) где, a i – направляющие косинусы вектора спонтанной намагниченности, e i j - компоненты тензора деформации кристалла, В 1 , В 2 – константы магнитоупругой энергии, С 11 , С 44 , С 14 – модули упругости. Устойчивому равновесному состоянию деформированного кристалла с определенным направлением намагниченности (a i = const) соответствует минимум свободной энергии. Чтобы определить компоненты тензора деформации при отсутствии внешних напряжений, характеризующие спонтанную магнитострикционную деформацию или спонтанную магнитострикцию, следует найти компоненты e (0) i j , соответствующие минимуму f . Минимизируя выражения для плотности энергии f относительно e i j , получим ∂ f /∂e xx = B 1 (a 2 1 – 1/3) +C 11 e (0) xx + C 12 (e (0) yy +e (0) zz ) =0, ∂ f /∂e yy = B 1 (a 2 2 – 1/3) +C 11 e (0) yy + C 12 (e (0) zz +e (0) xx ) =0, (14) ∂ f /∂e zz = B 1 (a 2 3 – 1/3) +C 11 e (0) zz + C 12 (e (0) xx +e (0) yy ) =0, ∂ f /∂e zy = B 2a 1a 2 + C 44 e (0) xy =0, ∂ f /∂e yz = B 2a 2a 3 + C 44 e (0) yz =0, (15) ∂ f /∂e xz = B 2a 1a 3 + C 44 e (0) xz =0, Складывая три уравнения (14) , найдем: (∆V/V) 0 = e (0) xx + e (0) yy + e (0) zz , т.е. в этом приближении изменение объема кристалла (∆V/V) 0 при спонтанной магнитострикционной деформации равно нулю. Из (14) и (15) получим компоненты тензора этой деформации e (0) i i = - [ B 1 /(C 11 -C 12 ) ] [a 2 i – 1/3 ], e (0) i j = -(B 2 /C 44 ) a ia j ; i, j = x, y, z. (16) Зная e (0) i j легко найти удлинение кристалла δ l/l при спонтанной магнитострикционной деформации в любом направлении, определяемом направляющими косинусами β 1 , β 2 , β 3 : ( δ l/l) 0 = e (0) xx β 2 1 + e (0) yy β 2 2 + e (0) zz β 2 3 + e (0) xy β 1 β 2 + e (0) yz β 2 β 3 + e (0) zx β 3 β 1 = = - [ B 1 /(C 11 -C 12 ) ] [a 2 1 β 2 1 +a 2 2 β 2 2 +a 2 3 β 2 3 - 1/3] – – (B 2 /C 44 ) ( a 1a 2 β 1 β 2 +a 2a 3 β 2 β 3 +a 3a 1 β 3 β 1 ) (17) Найдем δ l/l для кристаллографических направлений [100] и [III]. Если кристалл намагничен вдоль направления [100], то, полагая в (17) a 1 = β 1 = 1, a 2 = a 3 = β 2 = β 3 = 0, получим ( δ l/l) [100] = λ 100 = - 2/ 3 [ B 1 /(C 11 -C 12 ) ]. (18) Аналогично для направления [111] будем иметь ( δ l/l) [111] = λ 111 = - 1/ 3 ( B 2 /C 44 ) , (19) где λ 100 и λ 111 носят название констант магнитострикции. Подставляя в (18,19) , Выражения для констант магнитоупругой энергии: B 1 =N(∂g 1 /∂r) r 0 , B 2 = 2Ng 1 , (20) где - N число атомов в единице объема. Можно выразить магнитострикционные константы λ 100 и λ 111 для различных типов кубических решеток через коэффициенты g 1 в выражении для энергии пары атомов:
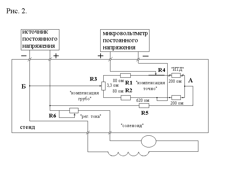
λ 100 = -2/3 [ N/(C 11 – C 12 ) ][ ∂g 1 /∂r ] r 0 ; λ 111 = - 4/3(N/C 44 ) g 1 2- объемно- центрированная: λ 100 = -16/9 [ N/(C 11 – C 12 ) ] g 1 ; (21) λ 111 = - 16/27 [ g 1 +(∂g 1 /∂r) r 0 ] 3 – гранецентрированная: λ 100 = -1/3 [ N/(C 11 – C 12 ) ][6g 1 – (∂g 1 /∂r) r 0 ] ; λ 111 = - 2/3 [ N/C 44 ] [2 g 1 +(∂g 1 /∂r) r 0 ] Принимая во внимание (16) , магнитоупругую (13) и упругую (12) энергии при спонтанной деформации можно записать в виде: f (0) му. = [B 2 1 /(C 11 – C 12 ) ] ∑ (a 2 i -1/3) 2 - B 2 2 /C 44 ∑ a 2 ia 2 j , (i, j=1,2,3) f (0) упр. = Ѕ C 11 [B 2 1 /(C 11 – C 12 ) 2 ] ∑ (a 2 i -1/3) 2 + Ѕ C 44 B 2 2 ∑ a 2 ia 2 j + +C 12 [B 2 1 /(C 11 – C 12 ) 2 ] ∑ (a 2 i -1/3) (a 2 j -1/3) , (i, j=1,2,3) или, учитывая соотношения 1) ∑a 2 i =1 (i =1,2,3) ; 2) ∑a 4 i =1 –2 ∑ a 2 i a 2 j (i, j=1,2,3) ; 3) ∑ (a 2 i -1/3) 2 = 2/3 – 2 ∑ a 2 ia 2 j (i, j=1,2,3, i>j) ; 4) ∑ (a 2 i -1/3) (a 2 j -1/3) = ∑ a 2 ia 2 j – 1/3 (i, j=1,2,3, i>j) ; f (0) му. = – [B 2 1 /(C 11 – C 12 ) ][ 2/3 – 2 ∑ a 2 ia 2 j ] - B 2 2 /C 44 ∑ a 2 ia 2 j , (i, j=1,2,3, i>j) (22) f (0) упр. = Ѕ C 11 [B 2 1 /(C 11 – C 12 ) 2 ] [ 2/3 – 2 ∑ a 2 ia 2 j ] + Ѕ C 44 B 2 2 ∑ a 2 ia 2 j + +C 12 [B 2 1 /(C 11 – C 12 ) 2 ] ∑ a 2 ia 2 j – 1/3, (i, j=1,2,3, i>j) (23) Подставляя (21) и (23) в (1) и учитывая (10) , (18) и (19) , получим следующее выражение для плотности анизотропной части магнитной энергии кристалла при отсутствии упругих внешних напряжений: f =( K 1 +∆ K 1 ) ∑ a 2 ia 2 j (i, j=1,2,3, i>j) (24) где добавка ∆ K 1 к первой константе анизотропии, обусловленная спонтанной магнитострикционной деформацией равна ∆ K 1 = [2B 2 1 /(C 11 – C 12 ) ] + [B 2 2 /C 44 ] – [C 11 {B 2 1 /(C 11 – C 12 ) 2 }]+ + [Ѕ C 44 (B 2 2 /C 2 44 ) ]+[ C 12 {B 2 1 /(C 11 – C 12 ) 2 ] = = [B 2 1 /(C 11 – C 12 ) ] – Ѕ[B 2 2 /C 44 ]=9/4 l 2 100 (C 11 -C 12 ) – 9/2l 2 111 C 44 (25) Как видно из (24) , вид зависимости плотности энергии от направляющих косинусов не изменился, но константа анизотропии благодаря спонтанной деформации решетки увеличилась. §2. Физическая природа естественной магнитной анизотропии. В первых работах Акулова магнитное взаимодействие в ферромагнитных кристаллах с микроскопической точки зрения трактовалось чисто классическим путем. Квантовомеханическая трактовка была дана в работах Блоха и Джентиля. Классическую теорию температурной зависимости констант магнитной анизотропии развили Акулов и Зинер, исходя из представления о том, что около каждого узла решетки можно выделить области ближнего магнитного порядка с не зависящими от температуры локальными константами анизотропии. Локальные мгновенные намагниченности этих областей из-за теплового движения распределены хаотически и образуют среднюю намагниченность всего кристалла. Отсюда удается определить связь между температурным ходом констант анизотропии и намагниченности в виде K n (T) /K n (0) = [ I s (T) / I s (0) ] n(2n+1) , (26) где n – порядок константы. Таким образом, мы приходим к универсальной зависимости K 1 ≈ I 3 s и K 2 ≈ I 10 s . Pезультат (26) получается в приближении теории молекулярного поля. Микроскопические трактовки этой проблемы даны в работах Ван - флека и Канамори. В основе всех расчетов по микроскопической теории магнитной анизотропии лежит учет магнитного взаимодействия между спиновыми и орбитальными магнитными моментами электронов, принимающих участие в ферромагнетизме. В общем случае оператор магнитной энергии складывается из трех членов. H магн. =U 1 +U 2 +U 3 (27) где U 1 — оператор, соответствующий движению электронов относительно ионов решетки, — спин-орбитальная энергия; U 2 — оператор магнитной энергии, возникающей вследствие относительного движения самих электронов, —орбитальная энергия; U 3 — оператор энергии магнитного взаимодействия спиновых магнитных моментов электронов — спиновая энергия (в первом приближении имеет вид дипольного взаимодействия) . Эффект орбитального взаимодействия U 1 и U 2 проявляющийся в случае изолированных атомов в образовании тонкой структуры спектральных линий приводит к появлению “внутренних магнитных полей” порядка 10 5 э. С другой стороны, “эквивалентное магнитное поле” анизотропии ферромагнетиков, определяемое величиной поля, при котором достигается насыщение в монокристалле вдоль труднейших направлений намагничивания, оказывается порядка 10 2 э и лишь в редких случаях (Со, пирротин) достигает 10 3 —10 4 э. Объяснение этого несоответствия заключается в том, что в отличие от атомов, где орбитальные моменты отличны от нуля (за исключением s-состоянии) , в ферромагнитных кристаллах (например, в d-металлах и сплавах) , как показывают измерения гиромагнитного эффекта, средний орбитальный магнитный момент по кристаллу почти всегда практически равен нулю. Поэтому в первом приближении эффект спин-орбитальных энергий U 1 и U 2 также равен нулю. Отличный от нуля эффект получается лишь во втором и более высоких приближениях. Что же касается спиновой части магнитного взаимодействия U 3 , которая хотя и дает отличный от нуля эффект в первом приближении, но тем не менее не обеспечивает наблюдаемый на опыте порядок величины эффективных “полей” благодаря своей малости. Несмотря на отсутствие законченной квантовой трактовки магнитного взаимодействия в ферромагнетиках, в этой области имеются известные успехи. Так, например, удалось объяснить правильный порядок величины констант магнитной анизотропии. В частности, без всяких дополнительных соображений из теории следует, что в кубических кристаллах (Fe, Ni) константы анизотропии должны быть меньше по абсолютной величине, чем в случае гексагональных кристаллов (Со, пирротин) . Это вытекает из свойств симметрии кубических кристаллов, в которых первое приближение для дипольной энергии U 3 и второе приближение для орбитальных энергий U 1 и U 2 не приводит к зависимости свободной энергии кристалла от ориентации его намагниченности относительно кристаллографических осей. Для получения этой зависимости надо рассматривать следующие приближения, в то время как в гексагональных решетках анизотропия получается и в первом приближении для U 3 , и во втором для U 1 и U 2 . Остановимся несколько подробнее на микромеханизме явления естественной кристаллографической магнитной анизотропии. Поскольку в создании самопроизвольной намагниченности ферро- и антиферромагнетиков основную роль играют электронные спины, то микроскопическая энергия, ответственная за магнитную анизотропию, должна зависеть от состояния этих спинов в кристалле, а также отражать симметрию распределения спиновой и зарядовой (орбитальной) плотности в кристалле. Наиболее простым является механизм магнитного дипольного взаимодействия спинов. К сожалению, однако, учет лишь дипольного межэлектронного взаимодействия не может, как правило, объяснить наблюдаемую на опыте величину энергии магнитной анизотропии. Другой из упомянутых выше механизмов заключается в связи между спином и орбитальным движением электронов [например, описываемой членами U 1 и U 2 гамильтониана (27) ]. Киттель дает следующее наглядное объяснение физического механизма магнитной анизотропии из-за спин-орбитальной связи. В основу своего объяснения они кладут общепризнанное положение, что, само появление этой анизотропии обусловлено совместным действием спин-орбитальной связи, частичного замораживания орбитальных моментов неоднородными кристаллическими полями и орбитальным обменным взаимодействием соседних атомов. Таким образом, самопроизвольная намагниченность кристалла “чувствует” ионную решетку через орбитальное движение магнитных электронов. Спины, участвующие в намагниченности, взаимодействуют с орбитальным движением с помощью спин-орбитальной связи, а орбитальное движение связано с решеткой полем лигандов. Микроскопическая энергия, возникающая благодаря этому механизму, может быть в свою очередь двух типов: 1) спин-орбитальная связь, которая зависит от спиновых состояний двух или более ионов-носителей магнитного момента ( парная модель магнитной анизотропии) ; 2) связь, зависящая от спинового состояния только отдельных ионов ( одноионная модель магнитной анизотропии) . Последний механизм оказывается наиболее близким к реальной ситуации, которая имеет место в неметаллических антиферро - и ферримагнетиках, в которых магнитноактивные ионы находятся в окружении магнитно-нейтральных анионов. Под действием поля лигандов, симметрия которого определяется типом кристалла, происходит расщепление уровней магнитного иона. В результате основному состоянию в зависимости от структуры кристаллической решетки будут соответствовать различные типы уровней, что приводит к магнитной анизотропии кристалла с магнитным порядком. § 3 . Магнитострикция при техническом намагничивании Известно, что в процессе технического намагничивания происходит смещение границ доменов и вращение вектора I s . Рассмотрим, как эти процессы влияют на изменение длины кристалла с положительной константой магнитной анизотропии K 1 . Пусть внешнее магнитное поле параллельно оси [110] и в исходном состоянии объемы V i доменов, намагниченных вдоль шести направлений легкого намагничивания, равновелики: V 0 100 = V 0 I00 =V 0 0I0 =V 0 001 =V 0 0I 0 =V 0 00I =1/6 V, где V – объем кристалла. а) Смещение 180° доменных границ. При этом домены, намагниченные вдоль направлений [100] и_{010], поглощаются доменами, намагниченными в направлениях [100] и [010]. Изменения длины при смещении 180° доменных границ не происходит. После того как смещение этих границ заканчивается, объемы доменов равны V 0 I00 = V 0 0I0 =0 При этом средняя намагниченность кристалла I = 2/3 (2) - Ѕ I s б) Смещение 90° границ. При этом домены, намагниченные вдоль направлений [100] и [010], поглощают домены, намагниченные в направлениях [001] и [001]. В конце этого процесса объемы доменов равны V 100 =V 010 =V/2, V 001 =V 00I =0 и средняя намагниченность кристалла I = (2) - Ѕ I s Отноносительное изменение длины, вызванное смещением 90° границ, будет при этом равно ∆ l/l =1/3[(d l/l ) [001] – (d l/l ) [100] ]=1/3[(d l/l ) [001] – (d l/l ) [010] ] = (1/3) (3/4) l 100 = ј l 100 (28) гле (d l/l ) [001] (a 1 = a 2 = 0, a 3 = 1) , (d l/l ) [100] (a 2 = a 3 = 0, a 1 = 1) , (d l/l ) [010] (a 1 = a 3 = 0, a 2 = 1) , Отметим, что формула (28) определяет лишь конечное изменение длины, соответствующее намагниченности I = (2) - Ѕ I s , при которой заканчивается процесс смещения 90° границ при условии, что вклад в намагниченность от процессов вращения еще пренебрежимо мал. в) Вращение. Если процессы смещения 180 и 90 границ заканчиваются в слабых магнитных полях, при которых вклад в намагниченность от процессов вращения пренебрежимо мал, то можно считать, что при дальнейшем росте магнитного поля вращение векторов намагниченности доменов к оси [110] происходит в плоскости (001) . Пусть J - угол между направлением намагниченности доменов и полем. Тогда намагниченность вдоль поля Н равна I = I s cos J. Относительное удлинение вдоль оси [110] будет (d l/l ) [110] = - 1/2l 100 + 3/4l 100 (a 2 1 +a 2 2 ) + 3/2l 111a 1a 2 , где a 1 = cos(p /4-J) , a 2 = sin(p /4-J) , откуда (d l/l ) [110] = ј l 100 + ѕ l 111 (2cos 2J -1) ” ј l 100 + ѕ l 111 (2( I/I s ) 2 -1) . Метод измерений и описание установки На исследуемые в работе ферромагнитные образцы, наклеены проволочные тензодатчики, изготовленные из тонкой константановой проволоки. Константан имеет очень малый температурный коэффициент омического сопротивления и пригоден для выполнения прецизионных измерений. В результате явление магнитострикции при намагничивании образца изменяются и линейные размеры тензодатчика, что приводит к изменению его омического сопротивления. По величине изменения омического сопротивления можно судить о величине магнитострикции. Коэффициент пропорциональности изменения омического сопротивления тензодатчика называют коэффициентом тензочуствительности. На рис. 2 приведена электрическая схема установки для измерения магнитострикции. Схема собрана в виде стенда с клеммами для подключения внешних приборов, а именно: источника постоянного напряжения 10В. и микровольтметра постоянного тока. Через клеммы также подключается тензодатчик исследуемого образца и источник постоянного магнитного поля (соленоид) . Измерительный проволочный тензодатчик ИТД является одним из плеч измерительного моста, во второе плечо которого включен компенсационный тензодатчик КТД, наклеенный на стальную полоску, находящуюся вне магнитного поля. Два других плеча измерительного моста образованы прецизионными резисторами R1 и R2. Потенциометр R3 служит для грубой компенсации моста, а реоход R4 для точной компенсации. К диагонали измерительного моста через подвижный контакт реохода и клеммы x3, x4 “мкВ” Подключается внешний микровольтметр. Резистор R5 задает ток питания датчиков. На стенде размещен также переменный резистор R6 для регулировки тока в соленоиде и, соответственно, амплитуды магнитного поля в нем. Конструктивно-технологические особенности выполнения измерений магнитострикции. Измерение магнитострикции является прецизионным процессом, в силу малости измеряемой величены. Даже у никеля, имеющего одну из самых больших величин магнитострикции, она составляет всего 30x10 -6 . Поэтому при питании тензодатчиков током порядка 5мА, разбаланс моста составляет в зависимости от величены l от 1 до 10 мкВ, что соответствует изменению сопротивления тензодатчика 10 -4 -10 -3 Ом. Для сравнения: величина термоЭДС контакта медь-конктантан – 30 мкВ/град С, а переходные сопротивления контактов могут достигать величин десятых долей Ома, т.е., по крайней мере, два мешающих фактора существенно превосходят измеряемую величину. Основные способы отстройки от мешающих факторов использованные в стенде: -размещение контактов индуцирующих термоЭДС в соседних плечах моста для компенсации ее; -использование скользящего контакта реохода (контакта с большим переходным сопротивлением) в высокоомной потнциалометрической цепи; -обеспечение стабильного температурного режима за счет изготовления соленоида с большим запасом по мощности (во избежание его нагрева) и удаление его от измерительной схемы. Перечень приборов и оснастки. Для выполнения работы необходимы:
Порядок выполнения работы. В качестве образцов работе используется ленты из никеля (образец №1) и лента из электротехнической стали марки 3414 толщиной 0,35 мм, вырезанной вдоль направления проката, совпадающего с направлением магнитной и кристаллографической текстуры (образец №2) и поперек направления проката, т.е. поперек направления магнитной текстуры (образец №3) . Порядок выполнения измерений следующий: 1. Подготовить к измерениям рабочее место.
Примечания: 1. Перед заменой образца тензодатчика выключить источник напряжения, а ручки управления приборов установить в положение соответстстаующее п. 1.2. 2. В случае, если не удается установить стрелку микровольтметра на нулевое положение в процессе компенсации моста, допускается производить отсчет показаний относительно полученного (ненулевого) значения шкалы. 3. Замену образов производить при выключенном источнике питания микровольтметра. 3. Обработка результатов измерений.
l =∆ l/l=g (∆R/R) , где ∆R – разбаланс моста в Омах. R = 200 Oм – сопротивление тензодатчика, g = 2 - коэффициент тензочувствительности.
Рис. 2. Электрическая схема установки для измерения магнитострикции. Литература.
Контрольные вопросы.
Поделитесь этой записью или добавьте в закладки |
Полезные публикации |
Главная