Электроразрядные СО2-лазеры
Содержание
Из всех существующих лазеров ( “Light Amplification by Stimulated Emission of Radiation”) длительного действия наиболее мощными, продвинутыми в практическом отношении и приспособленными для резки материалов, сварки металлов, термического упрочнения поверхностей деталей и ряда других операций являются электроразрядные СО 2 - лазеры. Большой интерес к СО 2 - лазерам объясняется также и тем, что у этого лазера эффективность преобразования электрической энергии в энергию лазерного излучения в сочетании с максимально достижимой мощностью или энергии импульса значительно превосходит аналогичные параметры других типов лазеров. С помощью их излучения производят необычные химические реакции, разделяют изотопы. Имеются проекты передачи энергии с помощью СО 2 - лазеров с Земли в космос или из космоса на Землю, обсуждаются вопросы создания реактивного двигателя, использующего излучение лазера. За 33 года, прошедших со времени создания первого образца ( С. Пател, 1964г.) их мощность в непрерывном режиме возросла от милливатта до многих киловатт. Сейчас выпускаются СО 2 - лазеры с мощностью до 10 кВт, в том числе более 50 типов СО 2 - лазеров с ВЧ-накачкой в диапазоне мощностей от 3 Вт до 5 кВт. При этом газовые лазеры с ВЧ-возбуждением обладают целым рядом преимуществ по сравнению с лазерами, в которых для накачки рабочей среды применяется самостоятельный тлеющий разряд постоянного тока. В частности, их конструкция и технология изготовления проще, а надёжность, ресурс работы, удельные характеристики существенно выше чем у лазеров с накачкой постоянным током. Это позволяет уменьшить габариты и массу технологических СО 2 - лазеров мощностью ~ 1 кВт настолько, что становится возможным размещение такого лазера на подвижном манипуляторе промышленного робота. Сегодня известно большое количество различных конструкций газовых лазеров с ВЧ-возбуждением. Но в основе всего многообразия конструктивных решений лежит специфика пространственной структуры ВЧЕР, которая в большинстве случаев удачно совпадает с требованиями, предъявляемыми к активной среде лазера.
Однако энергия возбуждённых состояний не является фиксированной величиной даже в случае изолированной частицы. Согласно принципу неопределённости Гейзенберга неточность в определении энергии системы и времени её существования должна удовлетворять соотношению:
В общем случае полная ширина линии излучения определяется всеми механизмами уширения. Однако в реальной ситуации чаще всего преобладающим является один. Это вызвано различным характером зависимости
В лазере на основе СО 2 используется четырёхуровневая система получения инверсной населённости между колебательными уровнями молекул. Молекула СО 2 состоит из атома углерода и двух симметрично расположенных атомов кислорода, т.е. имеет линейную структуру О-С-О. Как видно из схемы на рис. 7 атомы кислорода могут совершать симметричные (мода n 1 ОО) и несимметричные (асимметричные) (мода n 3 ОО), а также поперечные этому направлению так называемые деформационные колебания (мода n 2 L OO) - из-за наличия двух взаимно перпендикулярных направлений этот тип колебаний является дважды вырожденным. Употребляемые для описания состояния колебательно-возбуждённой молекулы квантовые числа n 1 , n 2 L и n 3 характеризуют число квантов, соответствующих колебанию данного типа, L указывает поляризацию деформированного колебания. Лазерный квант излучается при переходе из состояния 001 в 100 (цифры обозначают колебательные квантовые числа в модах n 1 , n 2 L и n 3 соответственно). Возможен также переход 001 ® 020 с длиной волны l =9.4 мкм, но он обычно гораздо слабее. Для получения оптимальных условий в рабочую смесь СО 2 - лазера помимо углекислого газа добавляют азот и гелий.
Частотный спектр генерации СО
2
-
лазера имеет достаточно сложный вид. Причиной этого является наличие тонкой структуры колебательных уровней, обусловленной существованием ещё одной степени свободы молекулы СО
2
–
вращения. Из-за вращения молекулы каждый изображённый на рис. 7 колебательный уровень распадается на большое количество вращательных подуровней, характеризуемых квантовым числом
j
и отстоящих друг от друга на величину энергии
D
e
вр
,
e
001
,
e
100
, kT
r
.
В результате интенсивного обмена энергий между вращательной и поступательной степенями свободы устанавливается больцмановское распределение частиц по вращательным состояниям, описываемое уравнением
Коэффициент усиления активной среды СО
2
-
лазера существенно зависит от температуры рабочей смеси Т
г
.
Процессы накачки лазерной смеси и генерации неизменно сопровождается нагревом газа. Температура лазерной смеси Т
г
в установившемся состоянии пропорциональна мощности энерговыделения в разряде, т.е. Т
г
~
jE.
В отсутствие генерации заселенность верхнего лазерного уровня также пропорциональна
jE.
Поэтому если время столкновительной релаксации
Под действием электронных ударов и в результате столкновений возбуждённых молекул в тлеющем разряде в СО 2 - лазерах происходит частичная диссоциация углекислого газа СО 2 ® СО + О. Отношение концентраций СО к СО 2 может достигать ~ 12%, содержание О 2 – 0,8%. Из-за этого при сохраняющемся энерговкладе возрастают потери на диссоциацию, возбуждение электронных состояний и возбуждение колебаний СО и О 2 . Поэтому населённость верхнего рабочего уровня СО 2 падает и коэффициент усиления уменьшается. Поскольку ресурс работы СО 2 - лазера, определенный требованиями экономичности установки, оценивается несколькими сотнями часов, а существенный рост доли СО и О 2 определяется минутами, необходимо включение в контур регенератора, в котором частично восстанавливается рабочая смесь. В диффузионном СО 2 - лазере целесообразно применение цеолита ( SiO 4 +AlO 4 ) в количестве 20мг, насыщенного парами H 2 O.
Резонатор является оптической системой, позволяющей сформировать стоячую электромагнитную волну и получить высокую интенсивность излучения, необходимую для эффективного протекания процессов вынужденного излучения возбуждённых частиц рабочего тела лазера, а следовательно, когерентного усиления генерируемой волны. Оптические резонаторы в квантовой электронике не только увеличивают время жизни кванта в системе и вероятность вынужденных переходов, но и так же, как резонансные контуры и волноводы определяют спектральные характеристики излучения. В длинноволновом диапазоне классической электроники длина волны излучения существенно больше размеров контура и его спектральные характеристики определяются сосредоточенными параметрами электрической цепи. Длинные радиоволны при этом излучаются в пространство практически изотропно. При сокращении длины волны и переход в СВЧ-диапазону для формирования электромагнитной волны используются пустотелые объёмные резонаторы с размерами, сравнимыми с длиной волны. При этом появляется возможность формирования направленных (анизотропных) распределений излучения в пространстве с помощью внешних антенн. В ИК и видимом диапазоне длина волны излучения много меньше размеров резонатора. В этом случае оптический резонатор определяет не только частоту, но и пространственные характеристики излучения. Простейшим типом резонатора является резонатор Фабри-Перо, состоящий из двух параллельных зеркал, расположенных друг от друга на расстоянии L p . В технологических лазерах резонатор Фабри-Перо используется крайне редко из-за больших дифракционных потерь. Чаще используются резонаторы с одной или двумя сферическими отражающими поверхностями. Свойства этих резонаторов зависят от знака и величины радиуса их кривизны R, а также от L p и определяются стабильностью существования в нём электромагнитной волны. В так называемом устойчивом (стабильном) резонаторе распределение поля воспроизводится идентично при многократных проходах излучения между зеркалами и имеет стационарный характер. В результате попеременного отражения электромагнитных волн от зеркал волна формируется таким образом, что в приближении геометрической оптики не выходит за пределы зеркал в поперечном направлении и выводится из устойчивого резонатора только благодаря частичному пропусканию самих отражающих элементов. В случае отсутствия потерь, излучение могло бы существовать в устойчивом резонаторе бесконечно долго. В неустойчивом (нестабильном) резонаторе световые пучки (или описывающие их электромагнитные волны) в результате последовательных отражений от зеркал перемещаются в поперечном оси резонатора направлении к периферии и покидают его.
Свойства резонаторов и характеристики создаваемых ими пучков можно описывать и в волновом, и в геометрическом приближении. В качестве критерия применимости этих приближений удобно использовать так называемое число Френеля
Расстояния
L
1
L
2
от места положения перетяжки до зеркал составляют
:
Наибольшее распространение получил среди устойчивых резонаторов полуконфокальный резонатор, у которого одно зеркало плоское ( R 2 = ¥ ) а второе имеет радиус R 1 =2L P т.е. его фокус лежит на плоском зеркале. Основное удобство полуконфокального резонатора, определяющее его широкую распространённость, заключается в возможности использования для вывода излучения плоских окон из частично прозрачных материалов а также в параллельности выходящего пучка. В случае использования металлических зеркал излучение можно выводить через одно из них или систему отверстий. Устойчивый резонатор сравнительно прост в эксплуатации. Он легко юстируется, достаточно устойчив по отношению в разъюстировке. Его сферические зеркала сравнительно просто поддаются изготовлению и контролю радиуса кривизны. Поэтому они находят широкое применение в лазерной технике, особенно в технике маломощных ( £ 1 кВт) лазеров. К числу недостатков устойчивых резонаторов следует отнести несовпадение объёма каустики с объёмом активной среды, что приводит к уменьшению КПД и увеличению размеров лазера, а также повышенные значения плотности мощности при перетяжке, что в случае её малых размеров может привести к оптическому пробою. Однако самым серьёзным недостатком устойчивых резонаторов является невысокая лучевая стойкость используемых в качестве выходных окон диэлектрических оптических материалов. Именно это обстоятельство ограничивает использование устойчивых резонаторов при больших плотностях излучения.
В лазерах повышенной мощности в последнее время широкое распространение получили неустойчивые резонаторы со сферическими металлическими зеркалами. Наиболее часто в лазерной технике используется телескопический конфокальный неустойчивый резонатор, дающий на выходе параллельный пучок. Одно из его зеркал выпуклое, а другое вогнутое. Генерация возникает в приосевой зоне. Покидающее эту зону излучение усиливается при многократных проходах между зеркалами, смещаясь к периферии резонатора. Относительная величина смещения положения луча на выпуклом зеркале за один проход называется
коэффициентом увеличения резонатора
В высокочастотных разрядах ёмкостного типа (ВЧЕР) высокочастотное (ВЧ) напряжение подаётся на электроды, которые могут быть изолированы от разряда твёрдым
диэлектриком или соприкасаться с разрядом. В этом смысле можно условно называть ВЧЕ-разряды
электродными
или
безэлектродными
.
Для диффузионного СО
2
-
лазера ориентировочное давление рабочей среды
~
20-40
торр, частота возбуждения
~
10-120
МГц (основная промышленная частота
f
~
13,6
МГц). Плазма таких разрядов, как правило, слабо ионизована, неравновесна и подобна плазме тлеющего разряда. При давлении
~
20
торр частота столкновений
n
м
примерно в 10
3
раз превышает частоту колебаний
w
=2
p
f,
поэтому в осциллирующем поле типа Е=Е
а
sin
w
t
электроны совершают дрейфовые колебания с амплитудой и скоростью смещений
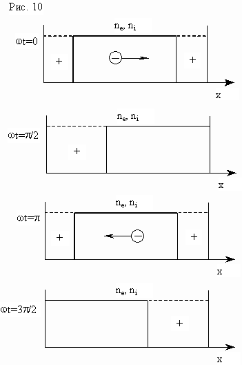
Допустим, что электроды оголены. Те электроны, которые в момент прохождения положения равновесия отстояли от электродов на расстояниях, меньших амплитуды колебаний, после
первых же качаний
“
навсегда”
уходят в металл. В состоянии равновесия с обеих сторон остаются слои нескомпенсированного ионного заряда, газ в целом оказывается заряженным положительно. При последующих качаниях электронный газ, если отвлечься от медленного диффузионного процесса, только касается электродов. На рис.10 схематично изображено качание электронного газа в предположении, что ионы совершенно
Экспериментально установлено, что ВЧЕР горят в одной из двух сильно различающихся форм. Внешне они отличаются характером распределения интенсивности свечения по длине промежутка, по существу – процессами в приэлектродных слоях и механизмами замыкания тока на электроды. При сильноточном разряде возникает диффузионное свечение в середине промежутка, а около электродов газ не светится. Напряжение на электродах меняется очень мало, что указывает на слабую проводимость ионизированного газа и малый разрядный ток. В слаботочном разряде сильное свечение локализуется у электродов и состоит из чередующихся слоёв, по цвету и порядку следования очень похожих на слои в катодной области тлеющего разряда постоянного тока. Напряжение на электродах после зажигания заметно падает, что говорит о значительной проводимости разряда. Эти особенности истолковываются так: в разряде со слабой проводимостью ток в приэлектродной области имеет преимущественно ёмкостной характер и является током смещения, как и до зажигания. Зажигание разряда, следовательно, не отражается на поведение электрода, который по-прежнему зарядов не испускает и не воспринимает. В хорошо проводящем сильноточном разряде на отрицательный в данный момент электрод идёт ионный ток, там происходит вторичная электронная эмиссия, и на какое-то время до смены полярности около “ катода” возникает катодный слой, как в тлеющем разряде. На электроды, которые попеременно служат катодами, ток из середины промежутка замыкается теперь токами проводимости. Слаботочный разряд ещё называют a - разряд, а сильноточный g - разряд, что символизирует роль вторичной эмиссии( g - процессов). При повышении давления горящий a - разряд внезапно переходит в g - форму, происходит как бы вторичное зажигание. Факт существования двух форм ВЧЕР, их свойства, закономерности перехода из одной формы в другую при давлении 10-100 торр подверглись детальному исследованию. Было экспериментально доказано что приэлектродные слои в g - разряде обладают высокой проводимостью.
При самых малых напряжениях и токах,
U
в ходе наращивания тока почти не меняется. Разряд в этих условиях не заполняет площади электродов, диаметр его в межэлектродном
В поперечном ВЧЕР в соответствии со спецификой его пространственной структуры даже в слаботочном режиме горения, когда выделение энергии непосредственно в приэлектродных слоях пространственного заряда невелико, максимумы энерговыделения в плазме смещены к охлаждаемым электродам, поэтому среди всех прочих одинаковых условиях теплообмен активной среды со стенками более эффективен. По-видимому, это и является одной из причин получения больших мощностей когерентного излучения с единицы длины СО
2
-
лазера с диффузионным охлаждением, возбуждаемого поперечным ВЧЕР по сравнению с ЛДО, возбуждаемым постоянным током. Величина Е
пл
/
р, реализуемая в положительном столбе самостоятельного разряда, превышает Е
опт
/
р, необходимые для эффективной накачки верхнего уровня молекулы СО
2
(
Е
пл
–
напряжённость электрического поля в положительном столбе, Е
опт
–
оптимальное значение электрического поля для накачки активной среды). Близкие к оптимальным значениям Е
/
р реализуются в самостоятельном тлеющем разряде только в тонком слое фарадеева тёмного пространства, примыкающего к катодному слою. Этот факт можно использовать для накачки СО
2
-
лазуров в поперечном разряде постоянного тока, когда электроды расположены настолько близко, что положительный столб, в котором Е
пл
>
Е
опт
,
не может сформироваться т.к. по условию эксперимента х
< l
ф
(l
ф
–
длина фарадеева пространства). Основной недостаток рассмотренной схемы заключается в её очень малом КПД, поскольку практически всё приложенное к электродам напряжение падает на катодном слое, в котором из-за малых
n
e
и больших величин Е накачка активной среды не происходит, за исключением тонкого слоя вблизи тлеющего свечения со стороны катода. Аналогичная ситуация имеется и в сильноточном ВЧЕР. Однако благодаря существованию в определённых условиях слаботочного режима горения ВЧЕР
,
когда приэлектродные слои не пробиты и потери в них невелики, появляется возможность использовать для накачки рабочей среды лазера поперечный разряд с малым межэлектродным зазором но высоким КПД. Именно в этом заключается основное преимущество ВЧЕР по сравнению с поперечным разрядом постоянного тока. Но эксперименты показывают, что слаботочный разряд может гореть только при значениях
pL,
меньших некоторого
Наиболее часто цитируемое достоинство газового лазера с поперечным ВЧ-возбуждением заключается в резком снижении (в 10
ё
100
раз) питающего напряжения. Но эта положительная черта не является следствием применения ВЧЕР, а возникает благодаря малой величине межэлектродного зазора
d.
Очевидно, что и в разрядах постоянного тока при малых
d
напряжение на электродах будет невелико. Специфика ВЧ-возбуждения заключается в том, что в условиях поперечного возбуждения разряда, т.е. при небольших напряжениях на электродах, малый зазор можно заполнить активной средой СО
2
-
лазера с высоким КПД. Другое преимущество связано с возможностью управления параметрами плазмы, особенно примыкающей непосредственно к приэлектродным слоям. В частности путём изменения частоты приложенного напряжения
f
можно изменять концентрацию электронов
n
e
в плазме слаботочного разряда при прочих одинаковых условиях. Это следует из зависимости минимальной (нормальной) плотности разрядного тока слаботочного ВЧЕ-разряда от частоты. Предельное значения плотности разрядного тока в слаботочном ВЧЕР
j
кр
,
а значит и максимальную величину электронной концентрации в плазме (
n
e
)
можно определить из условия пробоя ёмкостных приэлектродных слоёв с учётом вторично-эмиссионных процессов на электродах
: j
кр
=e*(n
e
)
кр
*
m
e
*E
пл
@
2*
p
*
e
*
e
0
*(
Е
сл
)
кр
,
где
e,
m
e
–
заряд и проводимость электронов в плазме, (Е
сл
)
кр
@
U
сл
/d
сл
–
напряженность в приэлектродном слое, при котором происходит его пробой,
d
сл
–
его эффективная толщина,
e
-
относительная диэлектрическая проницаемость слоёв. Отсюда
Таким образом, основанием для перехода к высоким частотам возбуждения СО 2 - лазеров и диффузионным охлаждением являются следующие две особенности слаботочного режима горения ВЧЕР.
Представленные в работе данные о диффузионном СО 2 - лазере с высокочастотным возбуждением показывают многие преимущества такого типа возбуждения активной среды по сравнению с возбуждением разрядами постоянного и переменного тока. ВЧЕ-разряд устойчивее разряда постоянного тока, в нём достижим существенно больший энерговклад. Балластным сопротивлениям, которые всегда оказывают благотворное действие на стабильность разряда, можно придать ёмкостный (реактивный) характер, что избавляет от бесполезных потерь энергии, которые о обычных омических балластниках составляют примерно 30% подводимой электрической мощности. Существенное преимущество ВЧЕР - это возможность избавиться от катодных слоёв, свойственных разрядам и постоянного и переменного тока. В катодных слоях бесполезно теряется часть энергии, кроме того, в них обычно рождаются возмущения, от которых развивается неустойчивости. Эти преимущества обеспечивает только слаботочная форма ВЧЕ-разряда. Поэтому для СО 2 - лазера необходим именно слаботочный режим, в котором получены рекордные мощности излучения : ~ 0,83 Вт / см. Недостаток этого режима – ограничение на плотность тока, длину промежутка и давление. Над улучшением данных характеристик ведётся работа. Также большим преимуществом является удобство работы с длинными трубками, низкие рабочие напряжения, высокая устойчивость и однородность. Дальнейший прогресс в области диффузионных СО 2 - лазеров с ВЧ-накачкой связан с исследованием условий протекания тока на границах плазмы ВЧ-разряда с электродами, а также решением проблем, связанных с волноводным режимом работы резонатора, увеличение скорости теплоотвода на стенки разрядной трубки.
Поделитесь этой записью или добавьте в закладки |
Полезные публикации |
Возбуждённая частица может перейти в менее энергетическое состояние самопроизвольно в результате спонтанного излучения, или, как его ещё называют, радиационного распада (рис. 1). Спонтанное излучение имеет чисто квантовую природу. Согласно квантовой механике атом или молекула не могут находиться в возбуждённом состоянии бесконечно долго. Возбуждённое состояние распадается с конечной скоростью, определяемой вероятностью этого перехода в единицу времени
.
Кванты света, родившиеся в результате спонтанных переходов обладают одинаковой энергией но никоим образом не связаны между собой. Направления распространения этих квантов в пространстве равновероятны. Так как рождение кванта может с равной вероятностью произойти в любой момент времени, электромагнитные волны, соответствующие этим квантам, не связаны между собой по фазе и имеют произвольную
поляризацию.
В отличие от спонтанных переходов, способных происходить в изолированной частице, безизлучательные переходы возможны только при наличии взаимодействия частицы А с другой частицей или системой частиц В. В результате такого взаимодействия частица переходит из состояния 1 в состояние 2 или наоборот без излучения кванта света и без его участия. Процесс столкновительного возбуждения (рис.2) требует затраты кинетической энергии
A(2)+B
®
A(1)+B+
квантовой системы из состояния 1 в состояние 2, что соответствует резонансному поглощению квантов, протекающему по схеме А(1)+
h
n
0
®
A(2) (
рис.4
)
возможны переходы по схеме А(2)+
h
n
0
®
А(1)+2h
n
0
(
рис.5). Данный процесс индуцирования или вынужденного излучения и служит основой квантовой электроники.
.
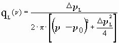
Данное уширение частоты излучения называется
естественная ширина линии
и является минимально возможной. Естественная ширина линии резко растёт с ростом
n
(
~
n
3
)
и становится заметной в коротковолновой части спектра. Для основного перехода молекулы СО
2
лазера
t
0
»
5
сек и ширина
,
где суммирование проводится по всем видам взаимодействующих частиц. Столкновительное и естественное уширение вызвано одной той же причиной – конечным временем жизни частицы в возбуждённом состоянии. Форма линии уширения в обоих случаях определяется особенностью вероятностных процессов и поэтому одинакова. Она имеет так называемый лоренцев контур, описываемый форм-фактором
.
Выражение нормировано на единицу
:
.
Уширение линии, связанное с конечностью времени жизни возбуждённого состояния, принято называть
однородным.
В случае однородного уширения каждая возбуждённая частица при переходе излучает линию с полной шириной
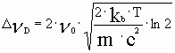
где
-
средняя тепловая скорость
; m -
масса частицы. При этом линия излучения имеет гауссов профиль, описываемый форм-фактором
.
Аналогично с
.
,
для гауссова
,
,
для доплеровской формы линии
, g
1
–
статистический вес уровня. Сечение вынужденного излучения
s
21
=
s
0
*g
1
,
вынужденного поглощения
s
12
=
s
0
*g
2
.
Процессы индуцированного излучения сопровождаются усилением электромагнитных волн. Пусть через среду, в которой частицы могут находиться в состояниях 1 и 2 с энергиями возбуждения
e
1
и
e
2
проходит поток монохроматического излучения удовлетворяющего соотношению h
n
0
=
e
2
-
e
1
.
Пусть плотность частиц в этих состояниях N
1
и N
2
.
Уравнение баланса плотности фотонов в пучке имеет вид:
Время жизни верхнего лазерного уровня СО
2
относительно спонтанных переходов составляет
~
0.2
с (А
21
»
5.1
с
-1
).
Поэтому более интенсивно верхние и нижние лазерные уровни расселяются (релаксируют) в результате безизлучательных переходов при столкновениях возбуждённой молекулы с невозбуждёнными компонентами лазерной среды по схеме на рис. 3. Однако высокая эффективность получения инверсной заселённости в газоразрядных СО
2
-
лазерах обусловлена рядом причин. В электрическом разряде с высокой эффективностью образуются колебательно-возбуждённые молекулы
N
2
,
составляющие до 50% их общего числа. Поскольку молекула
N
2
состоит из двух одинаковых ядер, её дипольное излучение запрещено и она может дезактивироваться только при столкновении со стенкой или с другими молекулами. При наличии СО
2
колебательная энергия
N
2
может быть легко передана молекулам СО
2
поскольку существует близкий резонанс между колебаниями
N
2
и модой
n
3
колебаний СО
2
.
Уровень 001 только на 18 см
-1
лежит выше первого колебательного уровня азота и необходимый недостаток энергии молекулы СО
2
могут получать от кинетической энергии азота. В результате энергия, затрачиваемая на возбуждение верхнего лазерного уровня и характеризуемая КПД разряда
h
к
,
для смесей СО
2
-N
2
-He
может превышать 80%. При наличии азота в смеси время релаксации, запасённой верхним уровнем энергии
t
э
увеличивается и становится равным
.
При средней плотности выделяемой в положительном столбе разряда мощности
<jE>
заселённость верхнего лазерного уровня в отсутствии генерации будет
.
Создание инверсии требует малой населённости нижнего лазерного уровня. В условиях отсутствия генерации нижние уровни СО
2
находятся в тепловом равновесии с основным, их относительная заселённость
~
,
где
N
n
, N
n
,j
–
концентрации возбужденных частиц на колебательном уровне
n
и на его вращательных подуровнях
j;
,
где р
i
–
парциальные давления компонент смеси.
инверсия достигается при оптимальных температурах смеси Т
ор
t
.
Для смеси с
c
г
»
1,5*10
-1
Вт
/(
м*К), Т
стенки
»
300
К зависимость населённости лазерных уровней от температуры показана на рис. 8.
Типичные значения Т
opt
~
400...500
К, Т
мах
~
700...800
К.
В геометрическом приближении условие устойчивости резонатора имеет вид
:
.
Расстояние между зеркалами
L
p
в этом выражении всегда положительно, а
R
1
и
R
2
положительны только для вогнутых т.е. фокусирующих зеркал и отрицательны для зеркал с выпуклой поверхностью. Для устойчивых резонаторов существует стационарное распределение интенсивности электромагнитного поля. В общем случае интенсивность излучения в устойчивых резонаторах распределена не равномерно по всему объёму резонатора, а сосредоточена внутри области, называемой
каустикой
(
рис.9). Радиусы
w
1
,
w
2
,
этой области на зеркалах а также её минимальный радиус
w
0
в месте перетяжки определяются длиной волны и параметрами резонатора (
R
1
, R
2
, Lp).
Для основного типа колебаний их можно рассчитать с помощью соотношений
:
.
.
В отличие от устойчивого резонатора прозрачность неустойчивого резонатора определяется не пропусканием излучения выходным зеркалом, а геометрическими размерами системы. Из-за геометрического расширения излучения его интенсивность падает на одном проходе в М
2
раз. Однако в стационарных условиях при малых внутрирезонансных потерях усиление излучения на одном проходе также составит М
2
.
Таким образом, весь неустойчивый резонатор заполнен излучением с практически равной интенсивностью, что в отличие от устойчивых резонаторов обеспечивает полное и равномерное использование всей активной среды. Если добавить к этому высокую лучевую стойкость металлических зеркал, то преимущество неустойчивых резонаторов для мощных
лазерных систем становится очевидным.
где
n
м
–
частота электронных столкновений. При Е
А
/
р
~
10
В
/(
см*торр), что характерно для неравновесной слабоионизированной плазмы молекулярных газов и промышленной частоты, амплитуда дрейфовых колебаний А
»
0,1
см. Она сравнительно мала по сравнению с типичными для экспериментов длинами разрядных промежутков вдоль поля
L
~
0,5-10
см. Дрейфовые скорости и амплитуды колебаний ионов в
~
10
2
раз меньше, так что колебательное движение ионов во многих случаях можно вообще не принимать во внимание. Даже при весьма низкой плотности электронов
n
e
=10
8
см
-3
и характерной для столкновительной плазмы электронной температуры Т
е
=1
эВ дебаевский радиус
d
D
»
0,05
см
<< L.
Поэтому в большей части разрядного промежутка плазма электронейтральна. Однако около границ плоского промежутка электронный газ, совершая качания относительно
“
неподвижных
”
ионов, периодически обнажает положительные заряды. Это является первопричиной появления
приэлектродных слоёв
пространственного разряда.
неподвижны и однородно распределены по длине промежутка, а диффузионное движение электронов отсутствует. На
самом деле диффузия размывает границы между плазмой и ионными слоями. На рис. 11 построены соответствующие рис.10 распределения поля и потенциала в те же моменты времени через каждые четверть периода. Поле Е в однородной электронейтральной части промежутка постоянно по его длине. Потенциал для определённости отсчитывается от левого электрода. Можно себе представить, что он заземлён, а переменное напряжение подаётся на правый. Значение и направление электрического тока, можно считать, характеризуется напряженностью поля Е в плазме, так как чаще всего в самой плазме ток проводимости преобладает над током смещения.
промежутке близок к диаметру пятна на электродах, светится средняя часть промежутка. Около электродов, в слоях пространственного заряда интенсивность излучения уменьшается. Это типичный слаботочный
a
-
разряд с непроводящими приэлектродными слоями. Распределение интенсивности свечения по длине промежутка показано на рисунке 12. При покрытии электродов диэлектриком всё останется точно так же. При наращивании тока в этой стадии, разряд расширяется в поперечном направлении, заполняя площадь электрода. Плотность тока на электроде при этом остаётся неизменной. Когда электрод полностью заполняется током и диаметр разряда вырастает до диаметра электродов, для дальнейшего увеличения тока требуется большее напряжение, как в аномальном тлеющем разряде, хотя здесь слои по-прежнему тёмные и непроводящие.
Толщины их в нормальном режиме
d
»
0,2-0,6
см. С точностью до небольшого тока насыщения ток замыкается на электрод током смещения. При достижении на электродах достаточно большого напряжения происходит резкая перестройка
a
-
разряда, превращение его в сильноточную
g
-
форму. На ВАХ ему соответствует скачок или излом (рис. 13). ВАХ построена при давлении 20 торр, частоте возбуждения 13,6 МГц. Излом говорит о “вторичном” зажигании разряда, перераспределяется свечение в промежутке, около каждого электрода появляются слои, похожие на слои тлеющего разряда. Постоянный потенциал пространства
U
0
в сильноточном режиме составляет
~
150-250
В, толщина приэлектродного слоя пространственного заряда становится меньше на порядок.
критического (
pL)
кр
.
Это зависит от электродов и свойства газа. При
pL
»
(pL)
кр
слаботочный разряд становится неустойчивым и либо переходит в сильноточную форму либо гаснет. При
pL>(pL)
кр
зажечь его вообще не удаётся и реализуется только сильноточный режим. При
pL<(pL)
кр
возможно существование и того и другого режима. Примерная зависимость предельных параметров существования слаботочного режима горения показана на рис.14.
.
Согласно этой формуле для получения приемлемой с точки зрения возбуждения рабочей среды СО
2
-
лазера, концентрации электронов в плазменном столбе слаботочного ВЧЕ-разряда, частота
f
должна быть выбрана достаточно высокой. Обычно при накачке СО
2
-
лазеров с диффузионным охлаждением пренебрегают промышленной частотой и выбирают
f
в диапазоне 30
ё
200
МГц. Получено, как того и следовало ожидать в соответствии с представлениями об особенностях структуры слаботочного ВЧЕР, что наиболее приемлемые частоты возбуждения находятся в интервале 80
ё
150
МГц. В этих случаях в активную следу СО
2
-
лазера можно вложить удельную электрическую мощность
»
100
Вт
/
см
3
и более при межэлектродных зазорах 1,5
ё
3
мм. Немаловажное значение, требующее перехода в высоким частотам возбуждения, имеет и тот факт, что толщина приэлектродных слоёв
d
сл
(f)
с увеличением частоты уменьшается с зависимостью
d
сл
»
V
др
/(2*
p
*f),
где
V
др
–
скорость дрейфа электронов в плазменном столбе, граничащим с приэлектродным слоем.
Главная