Îïûòû Ðåçåðôîðäà
Один из самых знаменитых физиков первой половины XX в. - Эрнест Резерфорд. Когда-то он первый анатомировал атом и обнаружил в нем ядро. К нему можно отнести исследования сложных явлений, протекающих в этой чрезвычайно маленькой частице вещества, а впоследствии он в своей лаборатории расщепил ядра атомов.
Когда он еще был студентом 2-го курса университета, на одной из конференций Резерфорд выступил с докладом на тему “Эволюция элементов”. Было высказано предположение, что каждый химический элемент представляет сложную химическую систему, содержащую одни и те же элементарные частицы. Это было на тот момент, когда все считали, что атом неделим – в физике господствовала теория Дальтона о неделимости атомов. На основе накопленных экспериментальных данных, первая попытка создания модели атома принадлежит ДЖ. ДЖ. Томсону. Томсон думал, что электроны вкраплены в сверхминиатюрную сферу диаметром 10 –8 см., а в сфере распределены равномерно положительные заряды, однако вместе с отрицательно заряженными электронами сфера электрически вообщем-то нейтральна - это и есть атом. На тот момент Резерфорд думал также. Он работал в одной лаборатории с Томсоном, и даже не думал о создании более совершенную модель, основанную на новых представлениях. А.Беккерель, изучая люминесценцию различных веществ, в 1896 г., случайно обнаружил, что соли урана без предварительного освещения производят излучение, которое обладает большой проникающей силой и способно воздействовать на фотографическую пластинку, завернутую в черную бумагу. Резерфорд заинтересовался данным явлением и сразу же занялся изучением Беккерелиевых лучей. Так как и рентгеновские и беккерелиевы лучи производили ионизацию воздуха, то он начал исследования рентгеновских лучей с проверки своего предположения о связи между ними. Результат был далек от успешного. Но самым важным было то, что Резерфорд открыл частицы в составе излучения, испускаемого ураном, он поместил урановый источник в сильное магнитное поле и разделил на три различных вида излучение. То есть, тогда он открыл состав радиоактивности: альфа– и бета–частицы, а также гамма-лучи. В результате этого Резерфорд мгновенно сделал гениальное заключение, что именно с помощью них можно проникнуть в глубь атома. Это было абсолютно правильно, что и подтвердилось немного позднее. Резерфорд широко применял частицы в последующих исследованиях в качестве снарядов, проникающих атомное ядро – сердце атома. Этот великий физик открыл и доказал эманацию тория. Он объяснил, что этот радиоактивный газ, который выделяется из тория – это химический элемент, отличающийся от самого тория. Позднее ним же был определен атомный вес эманации и Резерфорд показал, что она представляет собой благородный газ нулевой группы системы Д.И.Менделева. Впервые объясняли радиоактивный распад как самопроизвольный переход одних элементов в другие Резерфорд и Фредерик Содди. После эманации тория Резерфорд была открыта эманация радия – радон. Он понял, что радий, испуская частицы, перевоплощается в новое активное вещество, сходно с эманацией тория. Это послужило окончательным доказательством теории радиоактивного распада.
В 1908 году Резерфорд прибегнул к помоши сцинтилляционного счетчика Гейгера для широких опытов по исследованию частиц методом подсчета. Вместе с Гейгером и Ройдсом Резерфорд произвел серию опытов, подтверждавших, что ; -частицы есть ничто иное как дважды ионизированные (т.е. потерявшие по 2 электрона) атомы гелия. Этот исторический опыт, благодаря которому уже ни у кого не могло остаться сомнения в правильности его теории распада, заключался в следующем: в запаянную трубку 2 Резерфорд поместил некоторое количество радона – эманации радия. Толщина стенок этой трубки 0,01 мм. Они достаточно тонки, чтобы испускаемые радоном ; -частицы могли проходить через них во внешнюю трубку 3. Перед опытом трубка 3 тщательно откачивалась, и в ней спектрографическим путем нельзя было обнаружить линий гелия. Через несколько дней в трубке 3 обнаружилось накопление газа. Повышая давление в приборе, накопившийся газ можно было сконцентрировать в трубке 1. Через трубку пропускался электрический заряд и тогда оказывалось, что в ней спектральный анализ показывает характерные линии гелия. В трубке был гелий. Но может быть он попал в трубку 2 по недосмотру вместе с радоном, а оттуда проник в трубки 3 и 1? Контрольный опыт дал на этот вопрос отрицательный ответ. Точно в такой же прибор (в трубку 2) Резерфорд помещал не радон, а чистый гелий. Однако через несколько дней в трубке 1 линии гелия не обнаруживались. Гелий не мог пройти через стеклянные стенки трубки 2 в трубку 3. ; -частицы же легко проходили через стекло и накапливались в трубке 3, а затем концентрировались в трубке 1, где и подвергались спектральному анализу, давая линии гелия. После этого Резерфорд, вместе с Гейгером и Марсденом провели новую серию экспериментов. Результаты произвели переворот в физике. Это была наиболее драматическая глава в науке нашего времени. Резерфорд открыл атомное ядро и тем самым основал новую исключительно важную науку – ядерную физику. Что это были за эксперименты? Резерфорд и Гейгер на первых порах продолжили наблюдения сцинтилляций, вызываемых ; -частицами при ударе о люминесцентный экран из сернистого цинка. Прежде всего опыты привели Резерфорда к заключению, что каждая вспышка (сцинтилляция) вызывается одной ; -частицей. Таким образом оправдалось предположение, выдвинутое им ранее. Резерфорд писал тогда, что наблюдение сцинтилляций на экране из сернистого цинка представляет собой очень удобный способ счета частиц, если каждая частица вызывает вспышку. Следовательно, если каждая вспышка вызвана одной ; -частицей, то перед физиками открывается возможность наблюдать за поведением отдельных атомов. Резерфорд и Гейгер визуально подсчитали, что в продолжение секунды из излучателя в одну тысячную грамма радия вылетает 130 000 ; -частиц. Точность подсчета была безукоризненна. Оба ученых, к которым позднее присоединился Марсден, помногу часов проводили в затемненной лаборатории за утомительным счетом сцинтилляций. Гейгер рассказывал, что ему одному пришлось подсчитать в общей сложности миллион ; -частиц. Свою работу начал ученик Резерфорда Марсден. Ему было поручено считать ; -частицы, проходящие через тонкие металлические пластинки. Эти пластинки помещались в прибор между излучателем ; -частиц и люминесцентным экраном. Поручая Марсдену эту работу, Резерфорд не рассчитывал обнаружить что=либо любопытное. При условии, что модель атома Томсона правильна (а тогда не было никаких причин сомневаться в этом), опыт должен был показать, что ; -частицы свободно проходят через металлические преграды. Однако что-то все-таки заставило Резерфорда пойти на этот новый эксперимент. Марсдена поразило, что ; -частицы в этом простом опыте ведут себя иначе, чем должны вести, если принять модель атома такой, какой ее предложил Томсон. Согласно модели Томсона положительный заряд распределен по всему объему атома и уравновешивается отрицательным зарядом электронов, каждый из которых имеет массу гораздо меньшую, чем масса ; -частицы. Поэтому даже в редких случаях, когда ; -частица столкнется с гораздо более легким по сравнению с ней электроном, она может лишь незначительно отклониться от своего прямолинейного пути. Но в опытах Марсдена ; -частицы отнюдь не беспрепятственно проходили через металлическую пластинку. Нет, некоторые из них отклонялись после удара о пластинку на угол около 150 о , т.е. почти обратно возвращались к излучателю. Таких возвращавшихся частиц было, правда, очень мало. Когда экспериментатор преграждал путь ; -частицам более толстой пластинкой, то в его поле зрения появлялось больше ; -частиц, отклонившихся на большие углы. Это указывало, что замеченное Марсденом рассеяние ; -частиц не представляет собой какого-то поверхностного эффекта, т.е. оно не связано с поверхностью пластинки. Но Марсден не мог высказать каких-либо соображений по поводу увиденного им странного поведения ; -частиц. Он рассказал подробно о своих наблюдениях Резерфорду. Позднее Резерфорд признался, что сообщение Марсдена произвело на него потрясающее впечатление: “это было почти неправдоподобно, как если бы вы выстрелили пятнадцатифунтовым снарядом в кусок папиросной бумаги и снаряд отскочил бы обратно и поразил вас”. Резерфорд сразу представил себе, что эффект, наблюдаемый Марсденом, мог быть только в одном случае: если ; -частица, проникнув в атом, натыкалась на какую-нибудь массивную преграду, имеющуюся в нем, и отбрасывалась, получив при столкновении мощный удар. На основании этих исследований Резерфорд предположил ядерную (планетарную) модель атома. Согласно этой модели, вокруг положительного ядра, имеющего заряд ze (z – порядковый номер элемента в системе Менделеева, e – элементарный заряд), размер 10 -15 – 10 -14 м и массу, практически равную массе атома, в области с линейными размерами порядка 10 -10 м по замкнутым орбитам движутся электроны, образуя электронную оболочку атома. Так как атомы нейтральны, то заряд ядра равен суммарному заряду электронов, т.е. вокруг ядра должно вращаться z электронов.
Для простоты предположим, что электрон движется вокруг ядра по круговой орбите радиуса r. При этом кулоновская сила взаимодействия между электроном и ядром сообщает электрону центростремительное ускорение. Второй закон Ньютона для электрона, движущегося по окружности под действием кулоновской силы, имеет вид
Данное уравнение содержит два неизвестных: r и v. Следовательно, существует бесчисленное множество значений радиуса и соответствующих ему значений скорости (а значит и энергии), удовлетворяющих этому уравнению. Поэтому величины r, v (следовательно и E) могут меняться непрерывно, т.е. может испускаться любая, а не вполне определенная порция энергии. Тогда спектры атомов должны быть сплошными. В действительности же опыт показывает, что атомы имеют линейчатый спектр. Также из данного выражения следует, что при
Попытки построить модель атома в рамках классической физики не привели к успеху: модель Томсона была опровергнута опытами Резерфорда, ядерная же модель оказалась неустойчивой электродинамически и противоречила опытным данным. Преодоление возникших трудностей потребовало создания качественно новой – квантовой – теории атома. В 1914 году началась первая мировая война и Резерфорду пришлось на время отложить свои исследования. Но периодически, работая на военную промышленность, он возвращался к своим собственным экспериментам. В своих следующих экспериментах Резерфорд планировал взломать атом. Все это привело к потрясающему успеху, взлет гения Резерфорда привел к открытию, революционировавшему впоследствии всю науку и даже технику современности. Дан первый толчок к началу атомного века. Резерфорд расщепил атомное ядро. Мысль о расщеплении ядра атома появилась у Резерфорда при наблюдении в камере Вильсона и в стинцилляционном счетчике загадочных треков (следов). Они были гораздо более длинные, чем треки частиц, которые были емухорошо знакомы по бесчисленным опытам. Он решил найти неизвестные ему причины резкого удлинения пробега частиц. И он также предположил, что длинные следы оставляют другие неопознанные частицы. Резерфорду нужно было выяснить, какое из этих двух предположений истинно. Чтобы найти ответы на свои вопросы Резерфорд провел серию опытов по бомбардировке частицами различных веществ. Для этого ученый построил прибор, необыкновенно простой по нашим меркам. Но нельзя не учесть, что он был наиболее пригоден только для наглядного решения задачи. здесь мишенями для бомбардировки должны были быть газы (т.е. легкие атомы), а не металлические пластинки, обычно использовавшиеся Резерфордом во многих предыдущих опытах.
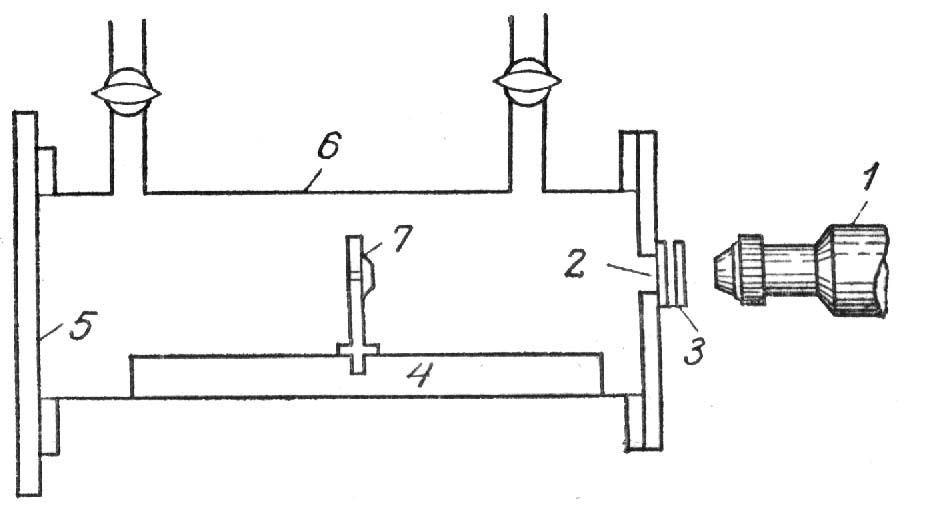
На схеме изображен прибор, построенный Резерфордом, с помощью которого ему удалось впервые расщепить ядра атомов легких элементов.
После того, как Резерфорд наполнил трубку азотом, то в поле зрения появились частицы, оставляющие очень длинный след, подобно тому, что он уже наблюдал. Конечно, до того как прийти к окончательным выводам, Резерфорд проделал еще много опытов. Но в итоге он пришел к заключению, что при столкновении частиц с ядрами азота, некоторые из них разрушаются, испуская ядра водорода – протоны, а после этого образуется ядро кислорода. С самого начала Резерфорду было понятно огромное значение данного открытия. Расщепление атомных ядер было произведено впервые. Представления, считавшиеся до этого момента непоколебимыми, были наглядно опровергнуты. Открывались совершенно новые и удивительные возможности искусственного получения одних элементов из других, выделения огромной энергии, содержащейся в ядрах, и т.д. Продолжая исследования, он получает экспериментальное подтверждение ранее уже установленного им положения – что небольшое количество атомов азота при бомбардировке распадается, испуская быстрые протоны – ядра водорода. В свете позднейших исследований, писал Резерфорд , “общий механизм этого превращения вполне ясен. Время от времени ; -частицы действительно проникают в ядро азота, образуя на мгновение новое ядро типа ядра фтора с массой 18 и зарядом 9. Это ядро, которое в природе не существует, чрезвычайно неустойчиво и сразу же распадается, выбрасывая протон и превращаясь в устойчивое ядро кислорода с массой 17 …” Проделывая длительные эксперименты, Резерфорду удалось вызвать ядерные реакции в 17 легких элементах. Не прекращая опытов по расщеплению ядер, Резерфорд пришел к следующему выводу: хотя частицы и обладают огромной энергией, но они все же являются недостаточно мощными снарядами для проникновения в ядра элементов. Было решено повысить энергию частиц, разгоняя их в высоковольтной установке. Это первый шаг в последующем развитии ускорительной техники.
Список используемой литературы :
Поделитесь этой записью или добавьте в закладки |
Полезные публикации |
В результате опытов Резерфорд в начале 1903 года пытается выяснить химический состав этих частиц. Его замысел состоит в том, чтобы сравнить массу такой частицы с массами атомов известных элементов. Данное исследование позволило ему первому идентифицировать частицы с атомами гелия. Далее это было подтверждено и спектрографически.
Его устройство заключается в том, что латунная трубка 6 длиной 20 см с двумя кранами наполняется газом. Внутри нее находится диск радиоактивного излучателя 7, испускающего частицы. Диск этот укреплен на стойке, двигающейся по рельсу 4. Во время опыта один конец трубки закрывается матовой стеклянной пластинкой, а другой конец – стеклянной пластинкой, прикрепляемой воском. Маленькое прямоугольное отверстие в латунной пластинке закрывалось серебряной пластинкой 3, которая обладала способностью задерживать частицы, аналогичные слою воздуха толщиной примерно 5 см. Против отверстия помещался люминесцирующий экран из цинковой обманки. Для счета сцинтилляций исследователь пользовался зрительной трубой 1.
Главная